Aube TH232-AF-230 Programmable Thermostat

Parts
- One (1) thermostat
- One (1) floor sensor
- One (1) wall plate
Guidelines
Turn off power to the heating system at the main power panel to avoid electrical shock. Installation should be carried out by an electrician.
- All work must conform to the applicable country standards for electrical installations and wiring.
- This thermostat should be connected on a circuit equipped with a fuse or a circuit breaker. It must be installed on a certified electrical box equipped with non-metallic cable strain relief adapters. Use separate adapters for the high-voltage wires and for the sensor cable.
- For a new installation, choose a location about 1.5 m above the floor.
- For electric baseboards, convectors and fan-forced heaters, the thermostat must be installed facing the heating system and on an inside wall.
- Avoid locations where there are air drafts (top of staircase, air outlet), dead air spots (behind a door), direct sunlight or concealed chimneys or stove pipes.
NOTE: The terminals are designed to handle a cross-section of wire measuring 0.33 to 3.1 mm2.
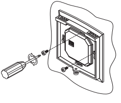
Procedure
- Loosen the captive screw underneath the base and remove the faceplate from the base.

- Before making the connections, make sure that the base covers the electrical box entirely. If not, install a wall plate at the back of the base
- Connect the wires:
- Power: Terminals 1 & 5
- Load: Terminals 2 & 4 see note 1
- Pilot Wire: Terminal 3 see note 2
- Floor sensor: Terminals 6 & 7 (no polarity)
WARNING: Ensure that the wires are tightly secured to the terminals.
Apply a minimum torque of 0.5 Nm (4.4 Lb/in) when tightening the screws.
Note 1 If a contactor is used between the thermostat and the load, install a snubber at the contactor’s coil terminal to ensure the proper operation of the thermostat.
Note 2 This connection is required on some models only.
Note 3 The sensor cable must pass outside the electrical box and travel inside the wall to the floor. For the proper operation of the thermostat, the floor sensor must be centered between two heater wires having a maximum temperature of 80 °C (176 °F). The floor sensor wire must not cross any heater wire or be placed close to it.
- Push wires into the electrical box and secure the base to the electrical box anchorage. The head of the screw must be less than 2 mm thick.
- Return the faceplate to the base.

- Return power to the heating system.

NOTE: Keep the thermostat’s air vents clean and unobstructed at all times.
Operating Instructions
Programmable Thermostat
Description
This thermostat provides the following temperature control modes:
- A mode: controls and displays the ambient air temperature
- F mode: controls and displays the floor temperature using an external temperature sensor (default mode)
- AF mode: controls and displays the ambient air temperature and maintains the floor temperature within desired limits using an external temperature sensor.

Use this button to disable heating (e.g. in the summer). The thermostat remains powered and continues to display the time and temperature.
Power Up
Apply power to the thermostat at the main electrical panel. At power-up, the thermostat is in manual mode and displays the actual (measured) temperature. The setpoint temperature is 28 °C (82 °F)
Error Messages
- LO The actual temperature is below 0 °C (32 °F).
- HI The actual temperature is above 70 °C (158 °F).
- Er The thermostat built-in sensor is defective. Replace the thermostat.
- E1 The floor sensor circuit is opened. Check the sensor connections.
- E2 The floor sensor circuit is shorted. Replace the sensor.
Configuration
Control Mode Selection
- Press and hold the Clear button for 3 seconds. The current control mode is displayed (ctl).
- Press the to select between A, AF and F.
NOTE: If you have chosen the A or F mode, go to step 7. If you have chosen the AF mode, the thermostat will control the ambient temperature while keeping the floor temperature within desired limits. If the floor temperature is too low or too high, the thermostat will turn heating on or off to maintain the floor temperature within the limits regardless of the ambient temperature. The minimum and maximum floor temperature limits are factory-set at 5 °C (41 °F) and 28 °C (82 °F) respectively.
To modify the limits, continue with the next step: - Press the Clear button briefly. The minimum limit is displayed (FL:LO).
- Press the button to set the minimum limit.
- Press the Clear button briefly. The maximum limit is displayed (FL:HI).
- Press the buttons to set the maximum limit.
- Press the Mode/Return button to exit and save the changes.
NOTE: If no button is pressed for 60 seconds, the thermostat will save the changes and return to the normal display.
Other Configurations
This procedure allows you to choose the following configurations:
| Parameters | Default settings |
| Temperature format | °C |
| Time format | 24H |
| Early Start setting (see the note below) | On |
- Press and hold the Pgm button for 3 seconds. The current temperature unit is displayed (unit).
- Press the
to toggle between °C and °F. - Press the Pgm button briefly. The current time format is displayed (Hr).
- Press the
to toggle between 24H and 12H. - Press the
Pgm button briefly. The current Early Start setting is displayed (ES). - Press the
to toggle between OFF and On. - Press the
Mode/Return button to exit and save the changes.
NOTE: Early Start can be used in Automatic mode only. When this function is set to On, the thermostat calculates the optimal time to start heating in order to obtain the desired temperature by the set time. The thermostat re-assesses the start time daily based on the previous day’s results.
Clock and Day Setting
- Press the Hour button to set the hour.
- Set the Min button to set the minutes.
- Set the Day button to set the day.
- Press Mode/Return to exit and save the changes.
Daylight Savings (DLS) Time
When the DLS function is set to US, the thermostat switches to Daylight Savings Time on the second Sunday of March and to normal time on the first Sunday of November. When the DLS function is set to Eu, the thermostat switches to Daylight Savings Time on the last Sunday of March and to normal time on the last Sunday of October.
NOTE: The DLS function is OFF (default setting) when the clock loses its setting.

- Press the Day button (3 seconds) until DLS appears on the screen.
- Press the
toggle between US, Eu, and OFF. - Press the Day button briefly. The year setting is displayed.
- Press the
to set the current year. - Press the Day button briefly. The month setting is displayed.
- Press the
to set the current month. - Press the Day button briefly. The date setting is displayed.
- Press the
to set the current date. - Press Mode/Return to exit and save the changes.
Temperature Adjustment
Setpoint Temperature
The thermostat normally displays the actual (measured) temperature.
To view the setpoint, press one of the
buttons once. The setpoint will appear for the next 5 seconds.
To change the setpoint, press one of the
buttons until the desired temperature is displayed. To scroll faster, press and hold the button.
Backlight
The screen is lit for 12 seconds when any button is pressed.
Preset Temperatures
The thermostat has 2 preset temperatures:
- Comfort temperature

- Economy temperature

To use a preset temperature, press the corresponding button. The corresponding icon will be displayed.
The following table shows the intended use and the default value of each of the preset temperatures.Icon Intended use A/AF modes F mode 
Comfort (when at home)
21 °C (70 °F) 28 °C (82 °F) Economy (when asleep or away from home) 16.5 °C (62 °F) 20 °C (68 °F)
To store a preset temperature:
- Set the desired temperature using
the buttons. - Press and hold the corresponding temperature preset button until the corresponding icon is displayed.
Modes of Operation
The thermostat has 2 modes of operation: automatic mode and manual mode.
Automatic Mode
Use automatic mode if you want the thermostat to follow the programmed schedule. The schedule has 4 time periods and uses the 2 preset temperatures. The thermostat switches to Comfort temperature in periods 1 and 3 and to Economy temperature in periods 2 and 4. The following table shows the intended use of each time period.

To use the automatic mode, press the Mode button to display on the screen. The current period number will also appear.
Preprogrammed schedule
The thermostat has been programmed with the following schedule. 
Temporary bypass
You can override the temperature of the current period by pressing the, or buttons. The new setpoint will be used until the beginning of the next period. The clock icon flashes during the bypass.
To cancel the bypass, press the Mode button.
Customizing the schedule
You can program the thermostat to use either 2 or 4 periods each day. For example, you can use 4 periods on weekdays and 2 periods on weekends. If you want to use 2 periods, choose periods “1 and 4” or periods “2 and 3”. Early Start will not work if you choose periods “1 and 2” or periods “3 and 4”.
- Press Pgm. Period 1 of Monday is displayed.
- If you wish to select another day, press Day repeatedly until the desired day is displayed.
NOTE: To select all 7 days, hold the Day button for 3 seconds.
This function is helpful if you want the same program every day. When all 7 days are selected, the start time of the displayed period will be applied to all 7 days. - If you wish to select another period, press Pgm repeatedly until the desired period is displayed.
- Press Hour and Min to set the period start time.
NOTE: To skip the period, press Clear. The thermostat will display –:– to indicate that the period will not be used. - To program another period, go back to step 2.
- Press Mode/Return to exit.
NOTE: If no button is pressed for 60 seconds, the thermostat will save the changes and return to normal display.
Manual Mode
In manual mode, the programmed schedule is not used. Use this mode if you wish to set the temperature manually or keep the same temperature all the time.
To use the manual mode:
- Press the Mode button to display .
- Set the temperature using the buttons or select one of the preset temperatures by pressing the
or
button.
Technical Specifications
- Supply: 230 VAC, 50 Hz
- Maximum Load: 15 A or 3450 Watts (NI)
- Rated Impulse: 2500 V
- Ambient temperature
- setpoint range (A/AF models): 5 °C to 30 °C (40 °F to 86 °F)
- Floor temperature
- setpoint range (F model): 5 °C to 40 °C (40 °F to 104 °F)
- Floor temperature limit range (AF model): 5 °C to 40 °C (40 °F to 104 °F)
- Temperature display range: 0 °C to 70 °C (32 °F to 158 °F)
- Temperature display resolution: 0.5 °C (1 °F)
- Operating temperature: 0 °C to 50 °C (32 °F to 120 °F)
- Storage temperature: -20 °C to 50 °C (-4 °F to 120 °F)
- Heating cycle length: 15 minutes
- Software: Class A
- Automatic action: Type 1B and 1Y
- Protection index: IP21
- Conformity: EN60730-1 / EN50081-1 / EN50082-2
- Protection: Class 2
- Environment: Normally polluted
- Power outage: All programs and temperature settings are saved during a power outage. The clock must be reprogrammed if the power outage lasts more than 4 hours. When power returns, the thermostat returns to the mode of operation preceding the outage
Warranty
Aube warrants this product, excluding battery, to be free from defects in the workmanship or materials, under normal use and service, for a period of three (3) years from the date of purchase by the consumer. If at any time during the warranty period the product is determined to be defective or malfunctions, Aube shall repair or replace it (at Aube’s option).
If the product is defective,
- return it, with a bill of sale or other dated proof of purchase, to the place from which you purchased it, or
- contact Aube. Aube will make the determination whether the product should be returned, or whether a replacement product can be sent to you.
This warranty does not cover removal or reinstallation costs. This warranty shall not apply if it is shown by Aube that the defect or malfunction was caused by damage which occurred while the product was in the possession of a consumer.
Aube’s sole responsibility shall be to repair or replace the product within the terms stated above. AUBE SHALL NOT BE LIABLE FOR ANY LOSS OR DAMAGE OF ANY KIND, INCLUDING ANY INCIDENTAL OR CONSEQUENTIAL DAMAGES RESULTING, DIRECTLY OR INDIRECTLY, FROM ANY BREACH OF ANY WARRANTY, EXPRESS OR IMPLIED, OR ANY OTHER FAILURE OF THIS PRODUCT. Some provinces, states and regions do not allow the exclusion or limitation of incidental or consequential damages, so this limitation may not apply to you.
THIS WARRANTY IS THE ONLY EXPRESS WARRANTY AUBE MAKES ON THIS PRODUCT. THE DURATION OF ANY IMPLIED WARRANTIES, INCLUDING THE WARRANTIES OF MERCHANTABILITY AND FITNESS FOR A PARTICULAR PURPOSE, IS HEREBY LIMITED TO THE THREE-YEAR DURATION OF THIS WARRANTY. Some regions do not allow limitations on how long an implied warranty lasts, so the above limitation may not apply to you.
This warranty gives you specific legal rights, and you may have other rights which vary from one province, state or region to another.
Technical Assistance
705 Montrichard Saint-Jean-sur-Richelieu Quebec, Canada J2X 5K8
Tel: 1-800-831-AUBE
Email: [email protected]
For more information on our products, go to www.aubetech.com
References:
Download Manual
Aube TH232-AF-230 Programmable Thermostat Owner’s Manual


Leave a Reply